行业分类
特斯拉的电池新专利
日期:2018-08-08 09:41  
鑫椤资讯
    By Charles Morris

    当说起着火的风险时,所有的数据都说明电动车要比燃油车更安全。但是电池确实还是会着火的。就像汽车管理局说的,没有一种方法在储存大量能量时却不用承担起火和爆炸的风险,除非是麒麟的眼泪。一旦电池起火,媒体就会大势炒作,迅速在网络世界中传播开来。


 
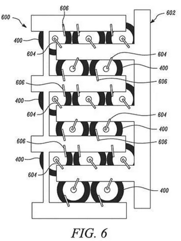
    所以让电池更加安全是最重要的优先事情。特斯拉最近申请的一项专利技术目的就在这个方面。这个专利系统被设计用来隔离损坏电池,放置造成对电池包内其他电池造成影响。


 
    当电池损坏后,会释放出大量的热气体然后扩散到附近的电池。特斯拉的专利中使用了两个内部连接件,他们被用来定位一组电池。这上面有一个带有熔断片的顶板,一旦有电池损坏放出热量并产生压力时,熔断片就会断裂。


 
    系统内还包括一些特性材料来确保电池不受其他电池产生的热量影响,例如一些绝缘性的聚合材料。可能还包括一些特点,像制冷板和加热管,可以快速的将电池热量传导出去。绝缘性的材料可能存在间隙和套管内。在不同的性状下,空气间隙也可能会提供必要的电源隔离。能量储存系统中也可能包括这些绝缘性材料,可以在电池破坏后把热气体导出。
关于网站  |  手机版  |  电脑版
(c)2020-2021 ICCSINO(鑫椤资讯)
首页 刷新 顶部